8 800 700-05-95 Все контакты

C 9:00 до 20:00. Звонок по РФ бесплатный

Belt guard module CA2500D. Каталог 2018г.

ВниманиеЭлектронный автокаталог запчастей предназначен для справочных целей! Наша компания продает только те товары, у которых есть цены в списке.

Вид отображения:

Детали справа
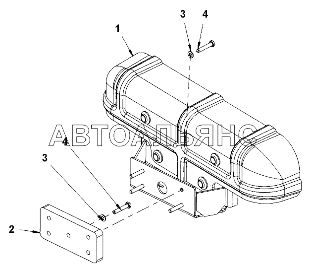
1
2
3
4
1

Номер детали на чертеже: 

1

Belt guard assy

Заводской номер: Belt guard Количество на модель: 1
Belt guard
1
2

Номер детали на чертеже: 

2

Spacer

Заводской номер: 4812117097 Количество на модель: 1
4812117097
1
3

Номер детали на чертеже: 

3

Washer

Заводской номер: 4700904229 Количество на модель: 5
4700904229
5
4

Номер детали на чертеже: 

4

Screw

Заводской номер: 4700500024 Количество на модель: 5
4700500024
5