8 800 700-05-95 Все контакты

C 9:00 до 20:00. Звонок по РФ бесплатный

Толкатель Т-10М. Каталог 2012г.

ВниманиеЭлектронный автокаталог запчастей предназначен для справочных целей! Наша компания продает только те товары, у которых есть цены в списке.

Вид отображения:

Детали справа

Номер детали на чертеже: 

Толкатель

Заводской номер: 64-17-111СП Количество на модель: 2
64-17-111СП
2
1

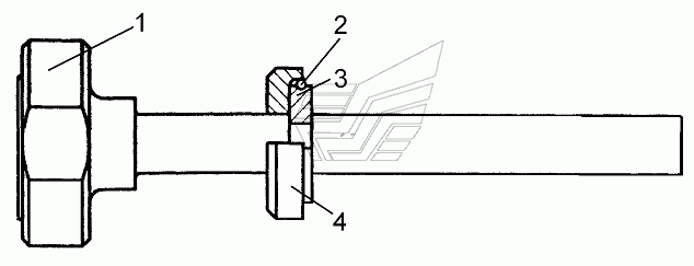
Номер детали на чертеже: 

1

Толкатель

Заводской номер: 64-17-62 Количество на модель: 1
64-17-62
1
2

Номер детали на чертеже: 

2

Кольцо пружинное

Заводской номер: 700-39-518 Количество на модель: 1
700-39-518
1
3

Номер детали на чертеже: 

3

Сухарь

Заводской номер: 64-17-65 Количество на модель: 2
64-17-65
2
4

Номер детали на чертеже: 

4

Упор

Заводской номер: 64-17-63 Количество на модель: 1
64-17-63
1