8 800 700-05-95 Все контакты

C 9:00 до 20:00. Звонок по РФ бесплатный

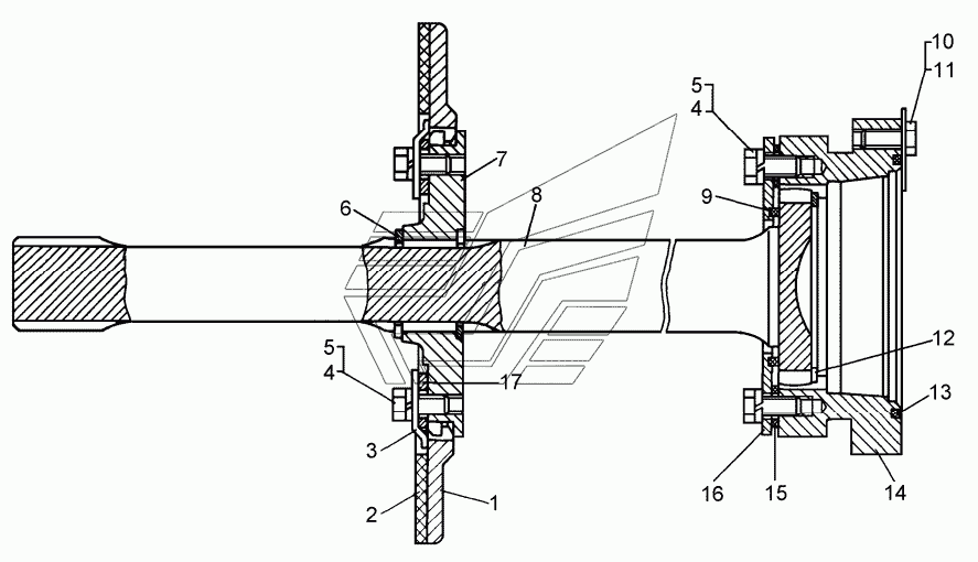
Детали муфты сцепления болото-ходного трактора Т-10М. Каталог 2012г.

ВниманиеЭлектронный автокаталог запчастей предназначен для справочных целей! Наша компания продает только те товары, у которых есть цены в списке.

Вид отображения:

Детали справа
1
2
3
4
5
6
7
8
9
10
11
12
13
14
15
15
16
17
1

Номер детали на чертеже: 

1

Тормозок

Заводской номер: 18-14-140-01СП Количество на модель: 1
18-14-140-01СП
1
2

Номер детали на чертеже: 

2

Накладка фрикционная

Заводской номер: 18-14-135 Количество на модель: 1
18-14-135
1
3

Номер детали на чертеже: 

3

Пластина

Заводской номер: 18-14-122 Количество на модель: 4
18-14-122
4
566932
ЧАЗ
18-14-122
Код: 566932
Артикул: 18-14-122,
Под заказ

На складах : Под заказ

Производитель: ЧАЗ
4

Номер детали на чертеже: 

4

Болт М12x25.88.45.019

Заводской номер: БолтМ12x25.88.45.019 Количество на модель: 8
БолтМ12x25.88.45.019
8
5

Номер детали на чертеже: 

5

Шайба 12.ОТ.65Г.09

Заводской номер: Шайба12.ОТ.65Г.09 Количество на модель: 20
Шайба12.ОТ.65Г.09
20
6

Номер детали на чертеже: 

6

Кольцо

Заводской номер: 700-58-2412 Количество на модель: 2
700-58-2412
2
566635
ЧАЗ
700-58-2412
Код: 566635
Артикул: 700-58-2412,
Под заказ

На складах : Под заказ

Производитель: ЧАЗ
7

Номер детали на чертеже: 

7

Муфта

Заводской номер: 20-14-21 Количество на модель: 1
20-14-21
1
566826
ЧАЗ
20-14-21
Код: 566826
Артикул: 20-14-21,
Под заказ

На складах : Под заказ

Производитель: ЧАЗ
8

Номер детали на чертеже: 

8

Вал

Заводской номер: 20-14-24 Количество на модель: 1
20-14-24
1
566293
ЧАЗ
20-14-24
Код: 566293
Артикул: 20-14-24,
Под заказ

На складах : Под заказ

Производитель: ЧАЗ
9

Номер детали на чертеже: 

9

Кольцо

Заводской номер: 46812 Количество на модель: 2
46812
2
10

Номер детали на чертеже: 

10

Болт

Заводской номер: 12304 Количество на модель: 8
12304
8
952280
Не указан
12304
Код: 952280
Артикул: 12304,
Под заказ

На складах : Под заказ

Производитель: Не указан
11

Номер детали на чертеже: 

11

Пластина замковая

Заводской номер: 31545 Количество на модель: 4
31545
4
12

Номер детали на чертеже: 

12

Кольцо

Заводской номер: 700-58-2520 Количество на модель: 1
700-58-2520
1
566636
ЧАЗ
700-58-2520
Код: 566636
Артикул: 700-58-2520,
Под заказ

На складах : Под заказ

Производитель: ЧАЗ
13

Номер детали на чертеже: 

13

Кольцо

Заводской номер: 21363 Количество на модель: 1
21363
1
14

Номер детали на чертеже: 

14

Муфта

Заводской номер: 20-14-25 Количество на модель: 1
20-14-25
1
044942
Не указан
20-14-25
Код: 044942
Артикул: 20-14-25,
Под заказ

На складах : Под заказ

Производитель: Не указан
566827
ЧАЗ
20-14-25
Код: 566827
Артикул: 20-14-25,
Под заказ

На складах : Под заказ

Производитель: ЧАЗ
15

Номер детали на чертеже: 

15

Прокладка

Заводской номер: 700-40-5259 Количество на модель: 1
700-40-5259
1
15

Номер детали на чертеже: 

15

Прокладка

Заводской номер: 700-40-5259-1 Количество на модель: 1
700-40-5259-1
1
16

Номер детали на чертеже: 

16

Крышка

Заводской номер: 18-14-125 Количество на модель: 1
18-14-125
1
566785
ЧАЗ
18-14-125
Код: 566785
Артикул: 18-14-125,
Под заказ

На складах : Под заказ

Производитель: ЧАЗ
17

Номер детали на чертеже: 

17

Крышка

Заводской номер: 20-14-22 Количество на модель: 1
20-14-22
1
566786
ЧАЗ
20-14-22
Код: 566786
Артикул: 20-14-22,
Под заказ

На складах : Под заказ

Производитель: ЧАЗ