8 800 700-05-95 Все контакты

C 9:00 до 20:00. Звонок по РФ бесплатный

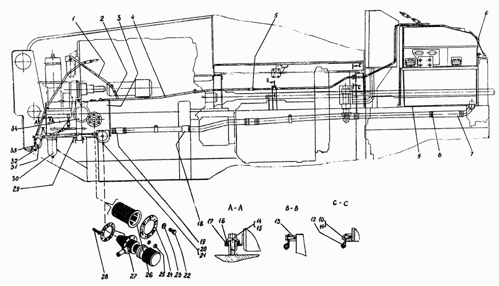
Топливная система ДЭТ-250М2. Каталог 2000г.

ВниманиеЭлектронный автокаталог запчастей предназначен для справочных целей! Наша компания продает только те товары, у которых есть цены в списке.

Вид отображения:

Детали справа
1

Номер детали на чертеже: 

1

Труба

Заводской номер: 748-25-348СП Количество на модель: 1
748-25-348СП
1
2

Номер детали на чертеже: 

2

Рукав

Заводской номер: 700-40-3479 Количество на модель: 8
700-40-3479
8
3

Номер детали на чертеже: 

3

Бак

Заводской номер: 748-25-331СП Количество на модель: 1
748-25-331СП
1
4

Номер детали на чертеже: 

4

Трубопровод

Заводской номер: 748-25-349СП Количество на модель: 1
748-25-349СП
1
5

Номер детали на чертеже: 

5

Хомут

Заводской номер: 700-41 -2235-03СП Количество на модель: 16
700-41 -2235-03СП
16
6

Номер детали на чертеже: 

6

Винт

Заводской номер: 748-99-1122 Количество на модель: 3
748-99-1122
3
7

Номер детали на чертеже: 

7

Рукав

Заводской номер: 700-40-3501 Количество на модель: 1
700-40-3501
1
8

Номер детали на чертеже: 

8

Хомут

Заводской номер: 700-41-2235-25СП Количество на модель: 24
700-41-2235-25СП
24
9

Номер детали на чертеже: 

9

Прокладка

Заводской номер: 700-40-7210 Количество на модель: 8
700-40-7210
8
10

Номер детали на чертеже: 

10

Болт М6-6gх16.88.35.019

Заводской номер: Болт М6-6gх16.88.35.019 [ГОСТ 7798-70] Количество на модель: 6
Болт М6-6gх16.88.35.019 [ГОСТ 7798-70]
6
11

Номер детали на чертеже: 

11

Шайба 6Т 65Г 09

Заводской номер: Шайба 6Т 65Г 09 [ГОСТ 6402-70] Количество на модель: 15
Шайба 6Т 65Г 09 [ГОСТ 6402-70]
15
12

Номер детали на чертеже: 

12

Хомутик

Заводской номер: 700-54-201-04 Количество на модель: 8
700-54-201-04
8
13

Номер детали на чертеже: 

13

Бонка М6х12х16

Заводской номер: Бонка М6х12х16 [ОСТ 3-1496-72] Количество на модель: 1
Бонка М6х12х16 [ОСТ 3-1496-72]
1
14

Номер детали на чертеже: 

14

Болт М12-6gх25.58.019

Заводской номер: Болт М12-6gх25.58.019 [ГОСТ 7796-70] Количество на модель: 1
Болт М12-6gх25.58.019 [ГОСТ 7796-70]
1
15

Номер детали на чертеже: 

15

Шайба 12 ОТ 65Г 09

Заводской номер: Шайба 12 ОТ 65Г 09 [ГОСТ 6402-70] Количество на модель: 1
Шайба 12 ОТ 65Г 09 [ГОСТ 6402-70]
1
16

Номер детали на чертеже: 

16

Накладка

Заводской номер: 748-25-257 Количество на модель: 1
748-25-257
1
17

Номер детали на чертеже: 

17

Прокладка

Заводской номер: 748-25-256 Количество на модель: 2
748-25-256
2
18

Номер детали на чертеже: 

18

Рукав

Заводской номер: 700-46-2007 Количество на модель: 1
700-46-2007
1
19

Номер детали на чертеже: 

19

Рукав

Заводской номер: 700-40-3500 Количество на модель: 5
700-40-3500
5
20

Номер детали на чертеже: 

20

Прокладка

Заводской номер: КВ-05-97 Количество на модель: 1
КВ-05-97
1
21

Номер детали на чертеже: 

21

Пробка спускная

Заводской номер: КВ-05-102 Количество на модель: 1
КВ-05-102
1
22

Номер детали на чертеже: 

22

Болт М8-6gх16.88.35.019

Заводской номер: Болт М8-6gх16.88.35.019 [ГОСТ 7796-70] Количество на модель: 8
Болт М8-6gх16.88.35.019 [ГОСТ 7796-70]
8
23

Номер детали на чертеже: 

23

Шайба 8Т 65Г 09

Заводской номер: Шайба 8Т 65Г 09 [ГОСТ 6402-70] Количество на модель: 8
Шайба 8Т 65Г 09 [ГОСТ 6402-70]
8
24

Номер детали на чертеже: 

24

Прокладка

Заводской номер: 748-25-219 Количество на модель: 1
748-25-219
1
25

Номер детали на чертеже: 

25

Гайка М6-7Н.6.019

Заводской номер: Гайка М6-7Н.6.019 [ГОСТ 5915-70] Количество на модель: 6
Гайка М6-7Н.6.019 [ГОСТ 5915-70]
6
26

Номер детали на чертеже: 

26

Фильтр

Заводской номер: 748-25-188СП Количество на модель: 1
748-25-188СП
1
27

Номер детали на чертеже: 

27

Прокладка

Заводской номер: 748-25-338 Количество на модель: 1
748-25-338
1
28

Номер детали на чертеже: 

28

Винт ВМ6-6gх16.58.019

Заводской номер: Винт ВМ6-6gх16.58.019 [ГОСТ 17473-80] Количество на модель: 2
Винт ВМ6-6gх16.58.019 [ГОСТ 17473-80]
2
29

Номер детали на чертеже: 

29

Прокладка

Заводской номер: 700-40-4235 Количество на модель: 1
700-40-4235
1
30

Номер детали на чертеже: 

30

Фильтр

Заводской номер: 748-25-355СП Количество на модель: 1
748-25-355СП
1
31

Номер детали на чертеже: 

31

Рукав

Заводской номер: 700-40-3506 Количество на модель: 1
700-40-3506
1
32

Номер детали на чертеже: 

32

Хомут

Заводской номер: 700-41-2235-11 СП Количество на модель: 6
700-41-2235-11 СП
6
33

Номер детали на чертеже: 

33

Бачок

Заводской номер: 748-25-345СП Количество на модель: 1
748-25-345СП
1
34

Номер детали на чертеже: 

34

Лента

Заводской номер: 748-25-311СП Количество на модель: 1
748-25-311СП
1