8 800 700-05-95 Все контакты

C 9:00 до 20:00. Звонок по РФ бесплатный

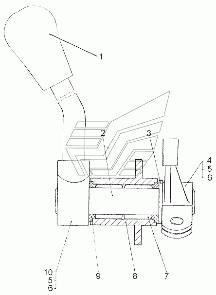
Мостик Бульдозер Б11. Каталог 2010г.

ВниманиеЭлектронный автокаталог запчастей предназначен для справочных целей! Наша компания продает только те товары, у которых есть цены в списке.

Вид отображения:

Детали справа

Номер детали на чертеже: 

Мостик

Заводской номер: 114-74-110СП Количество на модель:
114-74-110СП
1

Номер детали на чертеже: 

1

Рукоятка

Заводской номер: 700-42-2951СП Количество на модель:
700-42-2951СП
2

Номер детали на чертеже: 

2

Валик

Заводской номер: 114-74-14 Количество на модель:
114-74-14
3

Номер детали на чертеже: 

3

Шайба

Заводской номер: 3193-1 Количество на модель:
3193-1
4

Номер детали на чертеже: 

4

Рычаг

Заводской номер: 114-74-17 Количество на модель:
114-74-17
5

Номер детали на чертеже: 

5

Шпонка 5х7,5

Заводской номер: Шпонка5х7,5 Количество на модель:
Шпонка5х7,5
6

Номер детали на чертеже: 

6

Болт

Заводской номер: БолтМ10-6gх30.58.019 Количество на модель:
БолтМ10-6gх30.58.019
7

Номер детали на чертеже: 

7

Подшипник 942/20

Заводской номер: 942/20 Количество на модель:
942/20
467467
SAMPA
020.402 81152100033
Код: 467467
Артикул: 020.402, 81152100033
Производитель: SAMPA
066174
Не указан
942/20 (F-2020) 942/ 20
Код: 066174
Артикул: 942/20 (F-2020), 942/ 20
Нет в наличии

На складах : Нет в наличии

Производитель: Не указан
556357
DINEX
94220
Код: 556357
Артикул: 94220,
Производитель: DINEX
157241
МЗГС
РНВ 420.120.400.00 94220/ 49247/ 8201610SX/ 020402
Код: 157241
Артикул: РНВ 420.120.400.00, 94220/ 49247/ 8201610SX/ 020402
Производитель: МЗГС
163051
МЗГС
РЦВ 320.120.400.00 94220/ 49247/ 8201610SX/ 020402
Код: 163051
Артикул: РЦВ 320.120.400.00, 94220/ 49247/ 8201610SX/ 020402
Производитель: МЗГС
8

Номер детали на чертеже: 

8

Стакан

Заводской номер: 114-74-15 Количество на модель:
114-74-15
9

Номер детали на чертеже: 

9

Кольцо

Заводской номер: 700-42-2503 Количество на модель:
700-42-2503
10

Номер детали на чертеже: 

10

Рукоятка

Заводской номер: 114-74-111СП Количество на модель:
114-74-111СП