C 9:00 до 20:00. Звонок по РФ бесплатный

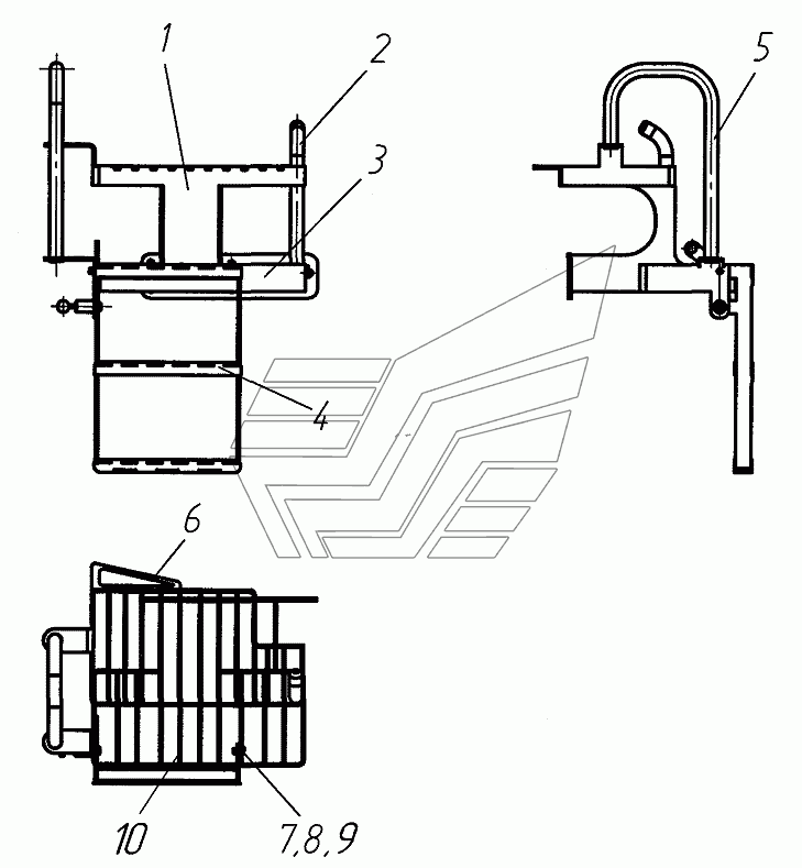
Лестница левая 771.28.01.00.000 TG-250 (782-80). Каталог 2017г.

ВниманиеЭлектронный автокаталог запчастей предназначен для справочных целей! Наша компания продает только те товары, у которых есть цены в списке.

Вид отображения:

Детали справа
1
2
3
4
5
6
7
8
9
10
1

Номер детали на чертеже: 

1

Ступенька

Заводской номер: 771.28.01.01.000 Количество на модель: 1
771.28.01.01.000
1
2

Номер детали на чертеже: 

2

Поручень

Заводской номер: 730.28.01.04.000 Количество на модель: 1
730.28.01.04.000
1
3

Номер детали на чертеже: 

3

Ступенька

Заводской номер: 771.28.01.02.000 Количество на модель: 1
771.28.01.02.000
1
4

Номер детали на чертеже: 

4

Рамка

Заводской номер: 730.28.02.01.000 Количество на модель: 1
730.28.02.01.000
1
5

Номер детали на чертеже: 

5

Поручень

Заводской номер: 771.28.01.00.001 Количество на модель: 1
771.28.01.00.001
1
6

Номер детали на чертеже: 

6

Лист

Заводской номер: 771.28.01.00.002 Количество на модель: 1
771.28.01.00.002
1
7

Номер детали на чертеже: 

7

Ось

Заводской номер: 730.28.01.00.005 Количество на модель: 2
730.28.01.00.005
2
8

Номер детали на чертеже: 

8

Шайба С.12

Заводской номер: ШайбаС.12 Количество на модель: 2
ШайбаС.12
2
9

Номер детали на чертеже: 

9

Шплинт 4х25

Заводской номер: Шплинт4х25 Количество на модель: 2
Шплинт4х25
2
10

Номер детали на чертеже: 

10

Планка

Заводской номер: 730.28.01.00.008 Количество на модель: 2
730.28.01.00.008
2