C 9:00 до 20:00. Звонок по РФ бесплатный

Гидроклапан обратный Атек-2324-1. Каталог 2005г.

ВниманиеЭлектронный автокаталог запчастей предназначен для справочных целей! Наша компания продает только те товары, у которых есть цены в списке.

Вид отображения:

Детали справа
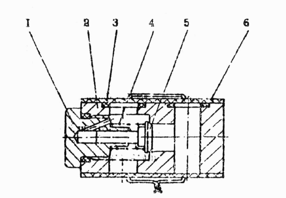
1
2
3
4
5
6
1

Номер детали на чертеже: 

1

Направляющая

Заводской номер: 50.7471.101 Количество на модель: 1
50.7471.101
1
2

Номер детали на чертеже: 

2

Корпус

Заводской номер: 15.0273.501 Количество на модель: 1
15.0273.501
1
3

Номер детали на чертеже: 

3

Кольцо 016-020-25-2-2 ГОСТ 18829

Заводской номер: [Кольцо 016-020-25-2-2 ГОСТ 18829] Количество на модель: 2
[Кольцо 016-020-25-2-2 ГОСТ 18829]
2
405612
ВИТЯЗЬ
Ц125*РК 3018
Код: 405612
Артикул: Ц125*РК, 3018
Производитель: ВИТЯЗЬ
405617
ВИТЯЗЬ
Ц125*РК 3064
Код: 405617
Артикул: Ц125*РК, 3064
Производитель: ВИТЯЗЬ
405981
ВИТЯЗЬ
77.72А.011*РК 5015
Код: 405981
Артикул: 77.72А.011*РК, 5015
Производитель: ВИТЯЗЬ
406421
ВИТЯЗЬ
4УТНМ*РК 3112
Код: 406421
Артикул: 4УТНМ*РК, 3112
Под заказ

На складах : Под заказ

Производитель: ВИТЯЗЬ
406461
ВИТЯЗЬ
50-15-118хРК 3610
Код: 406461
Артикул: 50-15-118хРК, 3610
Производитель: ВИТЯЗЬ
098071
TRAILER
Ремкомплект 5511-4202009-20 ТЛР 5511-4202009 РК, 5511-4202018
Код: 098071
Артикул: Ремкомплект 5511-4202009-20 ТЛР, 5511-4202009 РК, 5511-4202018
Производитель: TRAILER
858845
БЕЛАРУСЬРЕЗИНОТЕХНИКА
016-020-25-2-2
Код: 858845
Артикул: 016-020-25-2-2,
Производитель: БЕЛАРУСЬРЕЗИНОТЕХНИКА
4

Номер детали на чертеже: 

4

Пружина

Заводской номер: 50.8062.005 Количество на модель: 1
50.8062.005
1
5

Номер детали на чертеже: 

5

Конус

Заводской номер: 50.8062.006 Количество на модель: 1
50.8062.006
1
6

Номер детали на чертеже: 

6

Пластина

Заводской номер: 15.0273.402 Количество на модель: 2
15.0273.402
2