8 800 700-05-95 Все контакты

C 9:00 до 20:00. Звонок по РФ бесплатный

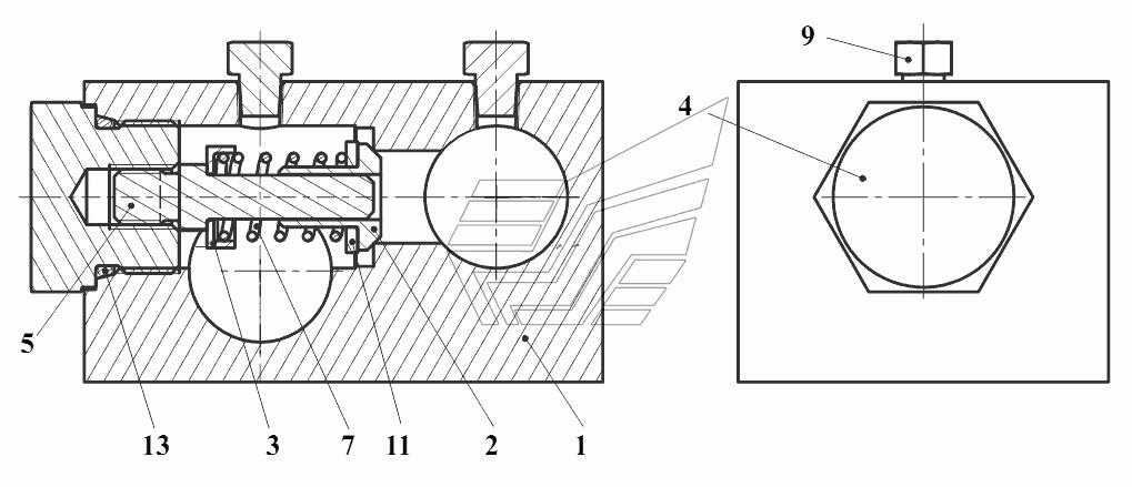
Клапан 30.45.20.000 Амкодор-211Е. Каталог 2016г.

ВниманиеЭлектронный автокаталог запчастей предназначен для справочных целей! Наша компания продает только те товары, у которых есть цены в списке.

Вид отображения:

Детали справа
1
2
3
4
5
7
9
11
13
1

Номер детали на чертеже: 

1

Корпус

Заводской номер: 30.45.20.001 Количество на модель: 1
30.45.20.001
1
2

Номер детали на чертеже: 

2

Клапан

Заводской номер: 30.45.20.002 Количество на модель: 1
30.45.20.002
1
3

Номер детали на чертеже: 

3

Шайба упорная

Заводской номер: 332В.17.14.142 Количество на модель: 1
332В.17.14.142
1
4

Номер детали на чертеже: 

4

Пробка

Заводской номер: 332В.17.14.143 Количество на модель: 1
332В.17.14.143
1
5

Номер детали на чертеже: 

5

Ось

Заводской номер: 332В.17.14.145 Количество на модель: 1
332В.17.14.145
1
7

Номер детали на чертеже: 

7

Пружина

Заводской номер: У35615-12.104 Количество на модель: 1
У35615-12.104
1
9

Номер детали на чертеже: 

9

Заглушка

Заводской номер: УДГ1.09.03.001 Количество на модель: 2
УДГ1.09.03.001
2
11

Номер детали на чертеже: 

11

Шайба

Заводской номер: С.12.02.Ст3.0115 Количество на модель: 2
С.12.02.Ст3.0115
2
13

Номер детали на чертеже: 

13

Кольцо

Заводской номер: 29.5x3FPM80 Количество на модель: 1
29.5x3FPM80
1