C 9:00 до 20:00. Звонок по РФ бесплатный

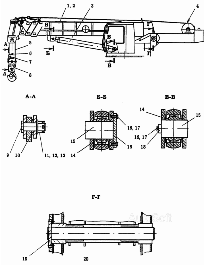
Установка телескопической стрелы KC-6973.63.000 КС-6973А. Каталог 2002г.

ВниманиеЭлектронный автокаталог запчастей предназначен для справочных целей! Наша компания продает только те товары, у которых есть цены в списке.

Вид отображения:

Детали справа
1
2
3
4
5
6
7
8
9
10
11
12
13
14
15
16
17
18
19
20
1

Номер детали на чертеже: 

1

Стрела телескопическая

Заводской номер: КС-6973.63.100 Количество на модель: 1
КС-6973.63.100
1
2

Номер детали на чертеже: 

2

Стрела телескопическая

Заводской номер: КС-6973.63.100-01 Количество на модель: 1
КС-6973.63.100-01
1
3

Номер детали на чертеже: 

3

Гидроцилиндр

Заводской номер: КС-6973А.63.400 Количество на модель: 1
КС-6973А.63.400
1
4

Номер детали на чертеже: 

4

Проволока 1,0-П ГОСТ3282-74

Заводской номер: [Проволока 1,0-П ГОСТ3282-74] Количество на модель: 2
[Проволока 1,0-П ГОСТ3282-74]
2
5

Номер детали на чертеже: 

5

Канат 18-Г-ВК-С-Н-Р-Т-1770 ГОСТ2688-80 (L=190м)

Заводской номер: [Канат 18-Г-ВК-С-Н-Р-Т-1770 ГОСТ2688-80 (L=190м)] Количество на модель: 1
[Канат 18-Г-ВК-С-Н-Р-Т-1770 ГОСТ2688-80 (L=190м)]
1
6

Номер детали на чертеже: 

6

Зажим 19

Заводской номер: [Зажим 19] Количество на модель: 1
[Зажим 19]
1
7

Номер детали на чертеже: 

7

Обойма

Заводской номер: КС-3577.63.002 Количество на модель: 1
КС-3577.63.002
1
8

Номер детали на чертеже: 

8

Подвеска крюковая

Заводской номер: КС-6973.63.300 Количество на модель: 1
КС-6973.63.300
1
9

Номер детали на чертеже: 

9

Ось

Заводской номер: КС-6973.63.006 Количество на модель: 1
КС-6973.63.006
1
10

Номер детали на чертеже: 

10

Шайба 36.02.019 ГОСТ11371-78

Заводской номер: [Шайба 36.02.019 ГОСТ11371-78] Количество на модель: 1
[Шайба 36.02.019 ГОСТ11371-78]
1
11

Номер детали на чертеже: 

11

Фиксатор

Заводской номер: КС-6973.63.013 Количество на модель: 1
КС-6973.63.013
1
12

Номер детали на чертеже: 

12

Гайка М24х2-7Н.5.019 ГОСТ5918-73

Заводской номер: [Гайка М24х2-7Н.5.019 ГОСТ5918-73] Количество на модель: 1
[Гайка М24х2-7Н.5.019 ГОСТ5918-73]
1
13

Номер детали на чертеже: 

13

Шайба 24.02.019 ГОСТ11371-78

Заводской номер: [Шайба 24.02.019 ГОСТ11371-78] Количество на модель: 1
[Шайба 24.02.019 ГОСТ11371-78]
1
14

Номер детали на чертеже: 

14

Втулка

Заводской номер: КС-6973.63.007 Количество на модель: 4
КС-6973.63.007
4
15

Номер детали на чертеже: 

15

Палец

Заводской номер: КС-6973.63.001 Количество на модель: 2
КС-6973.63.001
2
16

Номер детали на чертеже: 

16

Болт М20-8gх50.46.20.019 ГОСТ7798-70

Заводской номер: [Болт М20-8gх50.46.20.019 ГОСТ7798-70] Количество на модель: 4
[Болт М20-8gх50.46.20.019 ГОСТ7798-70]
4
17

Номер детали на чертеже: 

17

Шайба 20.65Г.019 ГОСТ6402-70

Заводской номер: [Шайба 20.65Г.019 ГОСТ6402-70] Количество на модель: 4
[Шайба 20.65Г.019 ГОСТ6402-70]
4
18

Номер детали на чертеже: 

18

Оседержатель

Заводской номер: КС-6973.63.004 Количество на модель: 2
КС-6973.63.004
2
19

Номер детали на чертеже: 

19

Плавка

Заводской номер: КС-6973.63.003 Количество на модель: 1
КС-6973.63.003
1
20

Номер детали на чертеже: 

20

Ось

Заводской номер: КС-6973.63.002 Количество на модель: 1
КС-6973.63.002
1