8 800 700-05-95 Все контакты

C 9:00 до 20:00. Звонок по РФ бесплатный

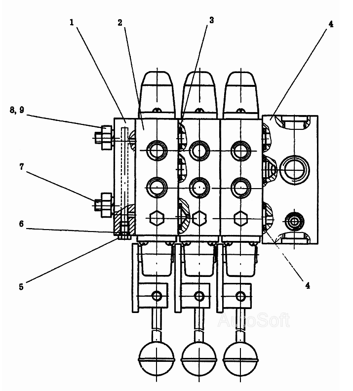
Гидрораспределитель УЗ.30.00.000-01 КС-6973А. Каталог 2002г.

ВниманиеЭлектронный автокаталог запчастей предназначен для справочных целей! Наша компания продает только те товары, у которых есть цены в списке.

Вид отображения:

Детали справа
1
2
3
4
5
6
7
8
9
1

Номер детали на чертеже: 

1

Крышка

Заводской номер: У3.30.00.001-2 Количество на модель: 1
У3.30.00.001-2
1
2

Номер детали на чертеже: 

2

Секция рабочая

Заводской номер: У3.30.20.000-2 Количество на модель: 3
У3.30.20.000-2
3
3

Номер детали на чертеже: 

3

Кольцо 021-025-25-2-2 ГОСТ9833-73

Заводской номер: [Кольцо 021-025-25-2-2 ГОСТ9833-73] Количество на модель: 8
[Кольцо 021-025-25-2-2 ГОСТ9833-73]
8
858404
БЕЛАРУСЬРЕЗИНОТЕХНИКА
021-025-25-2-2
Код: 858404
Артикул: 021-025-25-2-2,
Производитель: БЕЛАРУСЬРЕЗИНОТЕХНИКА
4

Номер детали на чертеже: 

4

Корпус

Заводской номер: У3.30.00.003-3 Количество на модель: 1
У3.30.00.003-3
1
5

Номер детали на чертеже: 

5

Пробка

Заводской номер: У3.30.20.011-2 Количество на модель: 1
У3.30.20.011-2
1
6

Номер детали на чертеже: 

6

Кольцо 007-010-19-2-2 ГОСТ9833-73

Заводской номер: [Кольцо 007-010-19-2-2 ГОСТ9833-73] Количество на модель: 1
[Кольцо 007-010-19-2-2 ГОСТ9833-73]
1
7

Номер детали на чертеже: 

7

Шпилька

Заводской номер: У3.30.00.005-3-01 Количество на модель: 4
У3.30.00.005-3-01
4
8

Номер детали на чертеже: 

8

Гайка М10-7Н.5.019 ГОСТ5915-70

Заводской номер: [Гайка М10-7Н.5.019 ГОСТ5915-70] Количество на модель: 4
[Гайка М10-7Н.5.019 ГОСТ5915-70]
4
9

Номер детали на чертеже: 

9

Шайба 10.65Г.019 ГОСТ6402-70

Заводской номер: [Шайба 10.65Г.019 ГОСТ6402-70] Количество на модель: 4
[Шайба 10.65Г.019 ГОСТ6402-70]
4