8 800 700-05-95 Все контакты

C 9:00 до 20:00. Звонок по РФ бесплатный

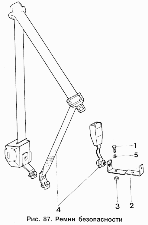
Ремни безопасности ИЖ 2717. Каталог 2004г.

ВниманиеЭлектронный автокаталог запчастей предназначен для справочных целей! Наша компания продает только те товары, у которых есть цены в списке.

Вид отображения:

Детали справа

Номер детали на чертеже: 

Ремень безопасности для переднего сиденья левый (комплект)

Заводской номер: ЕК31-11.00 Количество на модель: 1
ЕК31-11.00
1
1

Номер детали на чертеже: 

1

Болт

Заводской номер: 2126-8217016 Количество на модель: 2
2126-8217016
2
2

Номер детали на чертеже: 

2

Планка ремней

Заводской номер: 2126-8217120 Количество на модель: 1
2126-8217120
1
3

Номер детали на чертеже: 

3

Втулка

Заводской номер: 2126-8217018 Количество на модель: 2
2126-8217018
2
4

Номер детали на чертеже: 

4

Ремень безопасности для переднего сиденья правый (комплект)

Заводской номер: ЕК31-11.00-01 Количество на модель: 1
ЕК31-11.00-01
1
5

Номер детали на чертеже: 

5

Шайба 12 пружинная

Заводской номер: 252137-29 Количество на модель: 1
252137-29
1