8 800 700-05-95 Все контакты

C 9:00 до 20:00. Звонок по РФ бесплатный

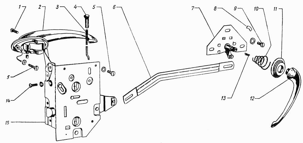
Замок и ручка задней двери ГАЗ-12 (ЗИМ)

ВниманиеЭлектронный автокаталог запчастей предназначен для справочных целей! Наша компания продает только те товары, у которых есть цены в списке.

Номер детали на чертеже: 

Замок задней двери левый в сборе

Заводской номер: 32-6205013 Количество на модель: 1
32-6205013
1

Номер детали на чертеже: 

Шайба 6 пружинная

Заводской номер: 252263-П8 Количество на модель: 2
252263-П8
2

Номер детали на чертеже: 

Шайба диаметром 6 мм пружинная зубчатая

Заводской номер: 252234 -П8 Количество на модель: 2
252234 -П8
2

Номер детали на чертеже: 

Шайба 6 пружинная

Заводской номер: 293226-П8 Количество на модель: 6
293226-П8
6

Номер детали на чертеже: 

Ручка передней двери наружная правая в сборе

Заводской номер: 32-6105150 Количество на модель: 1
32-6105150
1

Номер детали на чертеже: 

Привод замка передней двери левый в сборе

Заводской номер: 30-6105083 Количество на модель: 1
30-6105083
1
1

Номер детали на чертеже: 

1

Винт М6х1х22 крепления наружной ручки двери

Заводской номер: 233068-П13 Количество на модель: 2
233068-П13
2
2

Номер детали на чертеже: 

2

Ручка передней двери наружная левая в сборе

Заводской номер: 32-6105151 Количество на модель: 1
32-6105151
1
3

Номер детали на чертеже: 

3

Тяга выключения замка передней двери

Заводской номер: 32-6105070 Количество на модель: 2
32-6105070
2
4

Номер детали на чертеже: 

4

Наконечник тяги выключения замка двери

Заводской номер: 30-6105074 Количество на модель: 2
30-6105074
2
5

Номер детали на чертеже: 

5

Винт М6-6gх14

Заводской номер: 224624-П8 Количество на модель: 6
224624-П8
6
6

Номер детали на чертеже: 

6

Тяга привода замка задней двери

Заводской номер: 32-6205102 Количество на модель: 2
32-6205102
2
7

Номер детали на чертеже: 

7

Привод замка передней двери правый в сборе

Заводской номер: 30-6105082 Количество на модель: 1
30-6105082
1
8

Номер детали на чертеже: 

8

Чека крепления внутренней ручки задней двери

Заводской номер: 11 -405664 Количество на модель: 2
11 -405664
2
9

Номер детали на чертеже: 

9

Винт М6х1х10

Заводской номер: 224622-П8 Количество на модель: 6
224622-П8
6
10

Номер детали на чертеже: 

10

Пружина натяжная

Заводской номер: М-48284 Количество на модель: 2
М-48284
2
11

Номер детали на чертеже: 

11

Розетка ручки в сборе

Заводской номер: 30-6105186 Количество на модель: 2
30-6105186
2
12

Номер детали на чертеже: 

12

Ручка передней двери внутренняя

Заводской номер: 32-6105182 Количество на модель: 2
32-6105182
2
13

Номер детали на чертеже: 

13

Пружина внутренней ручки задней двери

Заводской номер: 13 -405662 Количество на модель: 2
13 -405662
2
14

Номер детали на чертеже: 

14

Винт М6х1х14 крепления обоймы заднего желобка опускного стекла передней двери

Заводской номер: 233064-П8 Количество на модель: 2
233064-П8
2
15

Номер детали на чертеже: 

15

Замок задней двери правый в сборе

Заводской номер: 32-6205012 Количество на модель: 1
32-6205012
1